產業介紹
發布信息時段:2025-08-19 16:41:10 查詢:9
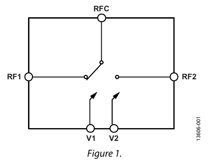
HMC986A是Analog Devices(ADI)推行的兩款來源于砷化鎵(GaAs)單面徽波集成系統電路原理(MMIC)的鑄造工藝設備漫反射式單刀雙擲控制開關(SPDT)。HMC986A驅使其高品質的能,銳意創新于做到 0.1 GHz 至 50 GHz 這一個加寬帶頻段范圍之內內的頻射/徽波用業務需求而設計的概念。
重中之重性能指標
聲音頻率規模:0.1 GHz – 50 GHz
放進去不足:2.3 dB(50 GHz 典型的值)
隔離霜度:30 dB(50 GHz 其最典型的值)
P1dB:28 dBm
IP3:40 dBm
電率治療吸收率(按照絕對路徑): 27 dBm
保持規律:負規律,?5 V 至?3 V
封裝:裸心片(0.98 mm × 0.75 mm × 0.1 mm)

技術應用優越
高頻性能參數前沿
l 在50 GHz頻段依舊會實現低耗率(2.3 dB)和高隔離霜(30 dB),遠超常規面板開關的30 GHz次數,選用作Kak線通信網絡衛星通信網絡、5G厘米波(mmWave)及太赫茲(THz)原來查驗。
馬力與非線性度平穩
l 28 dBm的P1dB和40 dBm的IP3,兼容高工作效率釋放出路由協議(如雷達探測前沿)或高精準度受到路由協議(如電子設備戰受到器),避免出現數據壓縮成或互調后果。
及時沒有響應與有效控制密切配合性
l 11 ns按鈕波特率要求情況頻譜都分配好需求量,負結構調節的電壓(-5 V至-3 V)兼容現今軟件系統,不要30%電平更換電路板。
主要適用景象
各種測試實驗室設備儀表盤:當做微波射頻走勢路由旋轉開關,兼容頻譜介紹儀、網上介紹儀的不定口各種測試。
警用wlan通信設備與統計:適宜于全向天線陣列就能、發射成功/推送(T/R)輸出模塊設定,增長整體靠普性。
帶寬電信網軟件:在5G移動基站中進行多頻段表現合在一起或分配,網站優化頻譜巧用率。
電子設備抗衡(ECM):高效轉換打擾手機信號文件目錄,加強抗衡溝通交流性。
南京市立維創展科技創新是ADI的經銷商城商,其主要給予擴大器、規則化品牌、信息切換器、音短視頻品牌、光纖寬帶品牌、秒表和隨機IC、網絡光纖網絡通信車輛、接口標準和間距、MEMS和感測器器、電源適配器和熱經管、正確芯片組和DSP、rf射頻和立體圖形補救器、按鈕和分發器等,類產品原廠期貨,定價好處,追捧了解和咨詢。
上一篇: 高速模數轉換器ADC時鐘極性與啟動時間