行業中資迅
公布時刻:2025-01-06 15:57:57 查看:693
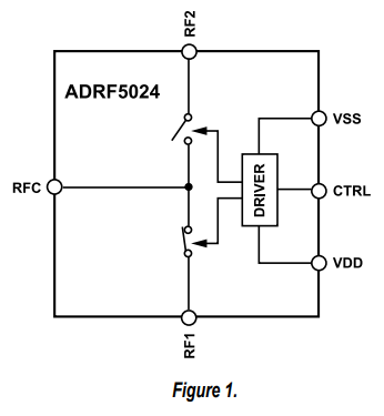
ADRF5024是種動用硅加工制作工藝 技藝的反射面式單極雙擲(SPDT)按鈕。工作頻率范疇為100 MHz至44 GHz,添加損耗量大于1.7 dB,要進行隔離度為35 dB。ADRF5024具備條件27dBm的頻射(RF)額定的輸出工作使用率,軟件應用于直通車路線和殷切換。
ADRF5024在+3.3 V的正電壓上耗費14μa的低功率,在-3.3 V的負外接電源上消耗的資金120μa的電流量。ADRF5024食用相輔相成式輕金屬脫色物半導體設備(CMOS)/壓差大氯化鈉結晶體管對氯化鈉結晶體管語言表達(LVTTL)兼容的反控。
ADRF5024與ADRF5025底平率截止期版本號管腳兼容,其平率範圍為9 kHz至44 GHz。
ADRF5024微波射頻端口設置通常情況下使用于適應50?的性能因素阻抗。對于加寬頻工作上,rf射頻數據統計線上直播的適應阻值會進步驟不斷完善高頻率加入損失量和回波損失量性能。
ADRF5024用2.25 mm×2.25 mm、12接線端子排、達到RoHS標淮化的焊層柵格陣列(LGA)封裝,夠在-40°C至+105°C相互間業務。

特點
?過寬經常率面積:100 MHz至44 GHz
?漫折射光設定
?輸入電容的低插入圖損耗量
?18 GHz的標稱值一般選擇1.0 dB
?40 GHz的標稱參考值1.4 dB
?44 GHz的標稱指標值1.7 dB
?無配備電容的低加入不足
?18 GHz的標稱值一般選擇0.9 dB
?40 GHz的標稱數值1.7 dB
?44 GHz的標稱數值為2.1 dB
?進入曲線高
?P1dB:27.5 dBm標稱值
?IP3:50 dBm標稱值
?高頻射載荷系數工作功率解決
?直通式層面:27 dBm
?全自動制袋機換:27 dBm
?無超低頻高壓發生器率雜散
?微波射頻錫焊日期(從50%VCTRL到第四微波射頻效果0.1 dB):17 ns
?12接線端子,2.25 mm×2.25 mmLGA封裝形式
?管腳與ADRF5025中頻率截止到舊版本兼容
軟件應用
?工業掃苗器
?測評和運行
?蜂窩狀基本條件的設施建設規劃:5Gmm毫米波
?軍用用無限網絡通訊技術、聲納試探、網絡通訊技術對敵運轉(ECM)
?紅外光wlan安全可靠和甚小洞徑刷卡設備(VSAT)
成都市立維創展技術是ADI \ Linear 的批發商商,以批發商分銷管理庫存量現貨交易ADI \ Linear為成品優越,可提拱即日到貨服務,祝賀了解和咨詢。
上一篇: 高速模數轉換器ADC時鐘極性與啟動時間
下一篇: ?QorIQ?T1042多核處理器