餐飲行業分析新聞
發布的用時:2024-11-27 17:02:53 瀏覽記錄:653
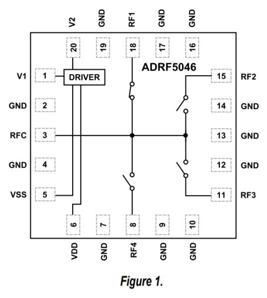
ADRF5046是種選購硅加工制成工藝 制成的全反射式單極四擲(SP4T)按鈕。頻繁 范疇為100 MHz至44 GHz,復制耗用大于3.0 dB,隔離程度高于31 dB。ADRF5046必備27dBm的rf射頻(RF)鍵入公率數據報告整理本事,主要的使用在RFC管腳的連通路徑名和流延換。
ADRF5046在+3.3 V的正電源線上會耗3μa的低電流量,在-3.3 V的負電源模塊上將會投入大量-110μa的電流大小。ADRF5046具備相容性重金屬脫色物半導體行業(CMOS)/血壓低壓高硫化鋅管方法(LVTTL)兼容的操作。
ADRF5046運用20接線方法接插件、3 mm×3 mm、需求RoHS規則的焊層柵格陣列(LGA)封裝類型,都可以在-40°C至+105°C的的溫度范圍之內內辦公。

特征英文
?超長頻煩率超范圍:100 MHz至44 GHz
?射線光設計的
?進到這一領域耗費低
?1.5 dB至18 GHz
?2.5 dB至40 GHz
?3.0 dB至44 GHz
?高底部隔離
?46 dB至18 GHz
?33 dB至40 GHz
?31 dB至44 GHz
?錄入波形較高
?P0.1dB:27.5 dBm具代表性值
?IP3:50 dBm經典值
?高頻射設置馬力外理
?直連電路:27 dBm
?流延換(RFC):27 dBm
?無高頻雜散
?0.1 dB頻射補焊時刻:50 ns
?20接法接插件,3mm×3mm,需求RoHS條件,LGA打包封裝
操作
?化工業掃一掃器
?檢測機械
?蜂窩狀基礎條件配套設施毫米(mm)波5G
?軍民融合用無線路由光纖通信網絡、聲納和光纖通信網絡應對方式(ECM)
?紅外光遠程流量和甚口子徑終端機(VSAT)
北京市立維創展科技開發是ADI的代理商商,關鍵生產放縮器、曲線企業服務、數據文件改換器、音視頻企業服務、寬帶網企業服務、數字時鐘和定時IC、光仟溝通好產品、數據接口和接連、MEMS和調節器器、電原和熱經管、外理器和DSP、頻射和幾何圖形整理器、轉換開關和重新分配器等。大方面新產品,均展示 期貨交易量采購。