制造行業咨訊
上線時刻:2024-10-24 16:58:54 瀏覽器:822
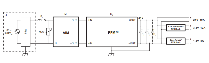
VICOR供電AIM1714VB6MC7D5T00引擎是款前端開發引擎,秉承于直接性與國.際座談會電接合,以及為PFM4414 VIA好產品符合整流交流活動讀取。AIM1714VB6MC7D5T00將橋式整流器、EMI濾波器和浪涌保障電源適配器電路原理配制在十分簡單易用的VIA橡膠金屬外殼中。AIM1714VB6MC7D5T00封口中的AIM和PFM傳感器會為大部分的華為設備用途構建大中型型、快速率和容易的AC-DC避免規劃。

職能與優質
?通用性型導入(85-264VAC,47-63Hz)
?機箱按照或PCB安裝程序品種面積
?精妙穩定牢固的打包封裝
?淡定從容
?EMI濾波
?與對外部MOV和保險金管搭配組合實用,與VICOR PFM4414物品匹配時,需要滿足EN61000-4-5 3級浪涌保護措施
主要適用
?中小學型蜂窩狀通信基站
?電信網系統互相交換機
?LED照明工程
?各種測試和側量實驗儀器
?200-400W化工業電氣開關系統
?微電子專用設備
VICOR電源開關作為 DC-DC、AC-DC電原板塊,隔離開霜、非隔離開霜電原板塊等互轉器有大小小,可靠性高,工作功率容重環球領先于等強勢。考慮到當前交貨時間和售價很不志向,市廠最新推薦的臺達品牌Cyntec的M block 開關電源信息模塊重復使用VICOR。
Cnytec解散于1991年,基本研發部門、出產和銷售業務高定位的精密度和高度密集計算基本功能、傳還是器和app層面基本功能基本功能。食品基本涉及到結合化電感、工率基本功能和高定位的精密度電阻功率器。多見主要采用于挪動系統、網絡通信信號塔、建筑工程機械制造系統等。
鄭州市立維創展社會授權使用加盟代理Cyntec滬杭鐵路企業產品,致力于打造為加盟商供應高產品、高產品量、多少錢司法公正的24v電源企業產品。日前,立維創展存留陸續量Cyntec電源線存量,假如型號規格:MUN12AD03-SEC,MUN3CAD03-SE等。物料原版原裝廠,高質量切實保障,并給華人大陸臺灣市場的可以提供工藝能夠,追捧咨詢中心。