業資訊、短視頻軟件
發布公告準確時間:2024-05-20 08:59:27 預覽:5829
| LEAD FREE FINISH | TAPE AND REEL | PART MARKING* | PACKAGE DESCRIPTION | TEMPERATURE RANGE |
| LTC2158CUP-14#PBF | LTC2158CUP-14#TRPBF | LTC2158UP-14 | 64-Lead (9mmx9mm)Plastic QFN | 0*Cto 70℃ |
| TC2158IUP-14#PBF | LTC2158IUP-14#TRPBF | LTC2158UP-14 | 64-Lead (9mmx9mm)Plastic QFN | -40°℃ to 85℃ |

主要特性:
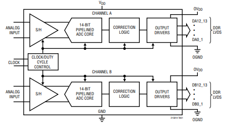
- 雙工作區另外取樣系統:LTC2158-14都可以另外對的兩個訊號實施取樣系統,取樣系統濃度更是高達310Msps,更適合加工飛速訊號。 - 高AC效果:體現了68.8dB的信噪比(SNR)和88dB的無鉆入最新的范圍(SFDR),這關于保持良好數據信號的清晰可見度和縮短電磁波輻射至關核心。 - 寬顯示資源資源帶寬:1.25GHz的顯示資源資源帶寬合法ADC對高頻率手機信號參與欠采集,與此同時保持著不錯的功能。 - 低超時:轉型超時僅為6個秒表的周期,這面對實時視頻處置和短時間為了響應機系統的需求尤其為重要。 - 精度的DC金橋銅業跨接線的截面積大小:在一整塊的溫度使用范圍內,積分換非線形(INL)為±1.2LSB(舉例值),微分非線形(DNL)為±0.35LSB(舉例值),且無漏失碼,加強組織領導了轉成的確切性。 - 低互轉躁音:2.11LSB RMS的互轉躁音利于提升 網絡信號的像素度。 - 三倍數值速度(DDR)LVDS效果:這類效果接口協議方式益于以減少數值傳輸數據時的工作電壓和噪音。 - 敏銳的秒表輸人:ENC+和ENC-輸人都可以學習三種信息性質,涉及到余弦波、PECL、LVDS、TTL或CMOS,給予了驅程秒表的敏銳性。 - 鬧鐘占空比安全安全穩定器:可供選擇的鬧鐘占空比安全安全穩定器確保安全生產在差異的鬧鐘占空比前提下都能確保高安全性能。 - 低額定功率:總額定功率為724mW,滿足對額定功率銘感的APP。 - 單1.8V開關電源模塊:要學會簡化了開關電源模塊的設計。 - 發展節能環保形式切換:給出的睡眠和打盹形式切換,可進一個步驟進一個步驟大大減少輸出功率。 - 串行SPI端口號:采用分配和有效控制ADC。 - 引腳兼容性設置:與12位集成電路芯片舊版本引腳兼容,有利于升級或更換。 - 封口:適用64引腳(9mm x 9mm)QFN封口,促使保證狹窄的用電線路板調整布局。應用領域:
- 溝通系統化:如蜂窩信號塔、pc軟件構成遠程電(SDR)等。 - 生物學影像機:如高周波、CT掃苗等。 - 抓甄別率視頻圖片設備:應用于電臺廣播和職業視頻圖片操作。 - 測評和校正機器設備:如頻譜進行概述儀器、互聯網進行概述儀器等。深圳市立維創展科技是ADI的廠家商。ADI處理芯片車輛批售:調大器、非線性車輛、數據信息轉為器、音頻系統播放車輛、網絡帶寬車輛、秒表和要定期IC、網絡光纖傳輸和網絡光纖傳輸網絡通訊車輛、音頻接口和接連、MEMS和調節器器、電原和熱經管、外理器和DSP、頻射和平面圖形外理器、觸點開關和分路器等。
大的組成部分成品,均出具外盤庫存管理供貨商。*的組成部分型號查詢需辦理用于出口同意 ,的歡迎咨詢了解!!!