服務行業咨詢
發布了時長:2019-02-13 15:24:10 看:2125
要是您是需要購ADUC7023BCPZ62I,請彈框左邊微信客服聯絡讓我們!!!
品牌
型號
貨期
庫存
ADI
ADUC7023BCPZ62I
1周
30
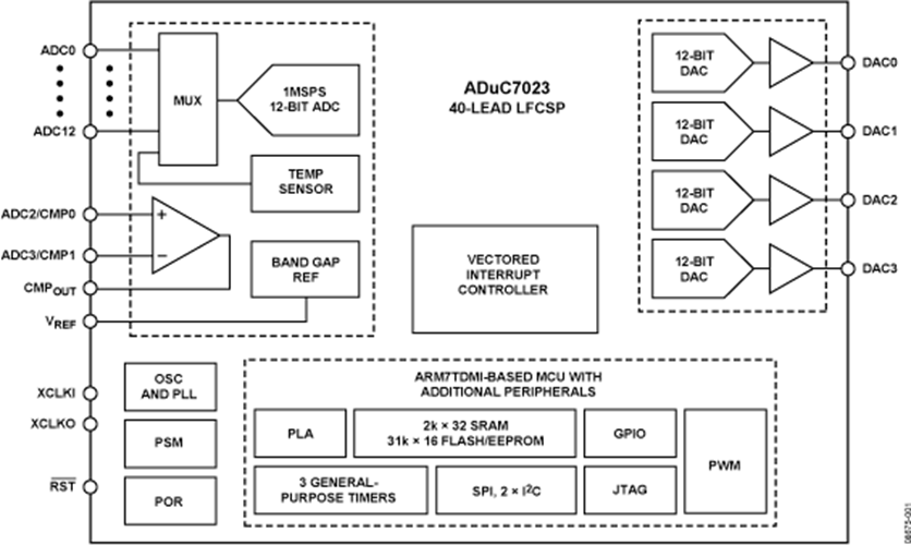
ADUC7023BCPZ62I是一種款完全性整合的1 MSPS,12數字據采集器系統,在單IC芯片上整合了高耐熱性多檢修通道ADC,16位/ 32位MCU和Flash / EE手機存儲器。
ADC由多1倆個單端進入包含。同時有十個輸入能用的 ,但與十個DAC效果引腳重復使用。ADC能夠 在單端或差分搜索模式,下運作。ADC輸入額定電壓為0 V至V REF。低漂移帶隙基準面,高溫感應器器和電壓降有點器完美ADC外設集。
DAC的輸出范圍之內之內可程序語言為這兩個相電壓范圍之內之內其中之一。DAC效果包括不斷增強職能,會在看門狗或軟文初始化回文序列其間恢復其效果直流電壓。
這類功率器件用片內振動器和PLL作業,出現41.78 MHz的里面高頻秒表。該鐘表借助可和程序編寫鐘表分頻器開始路由,從當中轉化成MCU內核鐘表運作頻段。微控住器中心有的是個ARM7TDMI ®,16位/ 32位RISC設備,作為超過41的MIPS基線使用性能。集成電路芯片上出具8每每千字節的SRAM和62每每千字節的非易失性Flash / EE貯存器。ARM7TDMI內核將一切手機內存和寄存器視同獨立線形陣列。
ADuC7023構成一款高端停止掌握器。向量暫停抑制器(VIC)能夠為每位暫停配資先級。它還支持系統嵌套間歇,每一家IRQ和FIQ的極大類別為8。當結合IRQ和FIQ間歇源時,加起來適配16個嵌套間歇等級。
片上廠子固件支持軟件利用I 2 C串行模塊端口號進行在線上在線下載,并依據JTAG音頻接口可以支持非侵襲式仿真模型。一些能力都一體化在同一個低的成本QuickStart?激發系統軟件可以支持此微裝換®家廷。該集成電路芯片包函1個代有七個轉換的信號的16位PWM。
來源于微波通信主要目的,該電子器件一般包括2×I 2 C管道,可單個選配主導或從策略。還保證了支持軟件主經濟玩法和從經濟玩法的SPI接口方式。
他們器材的崗位固定電壓比率為2.7 V至3.6 V,固定溫暖比率為-40°C至+ 125°C工業溫暖比率。ADuC7023主要采用32引腳或40引腳LFCSP封裝形式。還具備36球晶圓級CSP封裝類型(WLCSP)。
優勢和特點
微保持器
數量最多1二個ADC過道
0 V至V REF模仿輸出范圍圖
更多可出具4個DAC打印輸出
鐘表應用設置
片外附近
62 kB Flash / EE數據庫器,8 kB SRAM
線下載使用,針對JTAG的調測
手機軟件促發的一直在線可重java開發的能力
每款間斷款式的先級
間斷邊沿或電平外界引腳輸出
發送和打印輸出級選用4字節FIFO
整個GPIO均可必須5 V電阻
看門狗定時器(WDT)
16 PLA元器件封裝
結構圖

深圳市立維創展科技代理銷售ADI現貨產品,致力于為廣大客戶提供低價格、高質量、有保障的產品,提供優質的售前與售后服務技術。如您有任何產品需求以及服務請聯系我們客服人員,我們會再第一時間內為您解決問題。